Buckling Pin Relief Valve Manufacturers

Carbon Steel Pressure Relief Device Buckling Pin Relief Valve Rupture Valve

Carbon Steel Pressure Relief Device Buckling Pin Relief Valve Rupture Valve

Analytics For Us Patent No 6325088 Buckling Pin Actuated Pilot Operated Pressure Relief Valve

Analytics For Us Patent No 6325088 Buckling Pin Actuated Pilot Operated Pressure Relief Valve

Bs B Buckling Pin Relief Device G W Industrial Sales

Bs B Buckling Pin Relief Device G W Industrial Sales

Buckling Pin Relief Technology Bs B Safety Systems L L C Pdf Catalogs Technical Documentation Brochure

Buckling Pin Relief Technology Bs B Safety Systems L L C Pdf Catalogs Technical Documentation Brochure

Mpsi Products

Mpsi Products

Buckling Pin Relief Valves And Bursting Discs Which Is Best For You

Buckling Pin Relief Valves And Bursting Discs Which Is Best For You

Buckling Pin Relief Valves And Bursting Discs Which Is Best For You

A rotating disk a flanged body and an external enclosure and mechanism.

Buckling pin relief valve manufacturers.

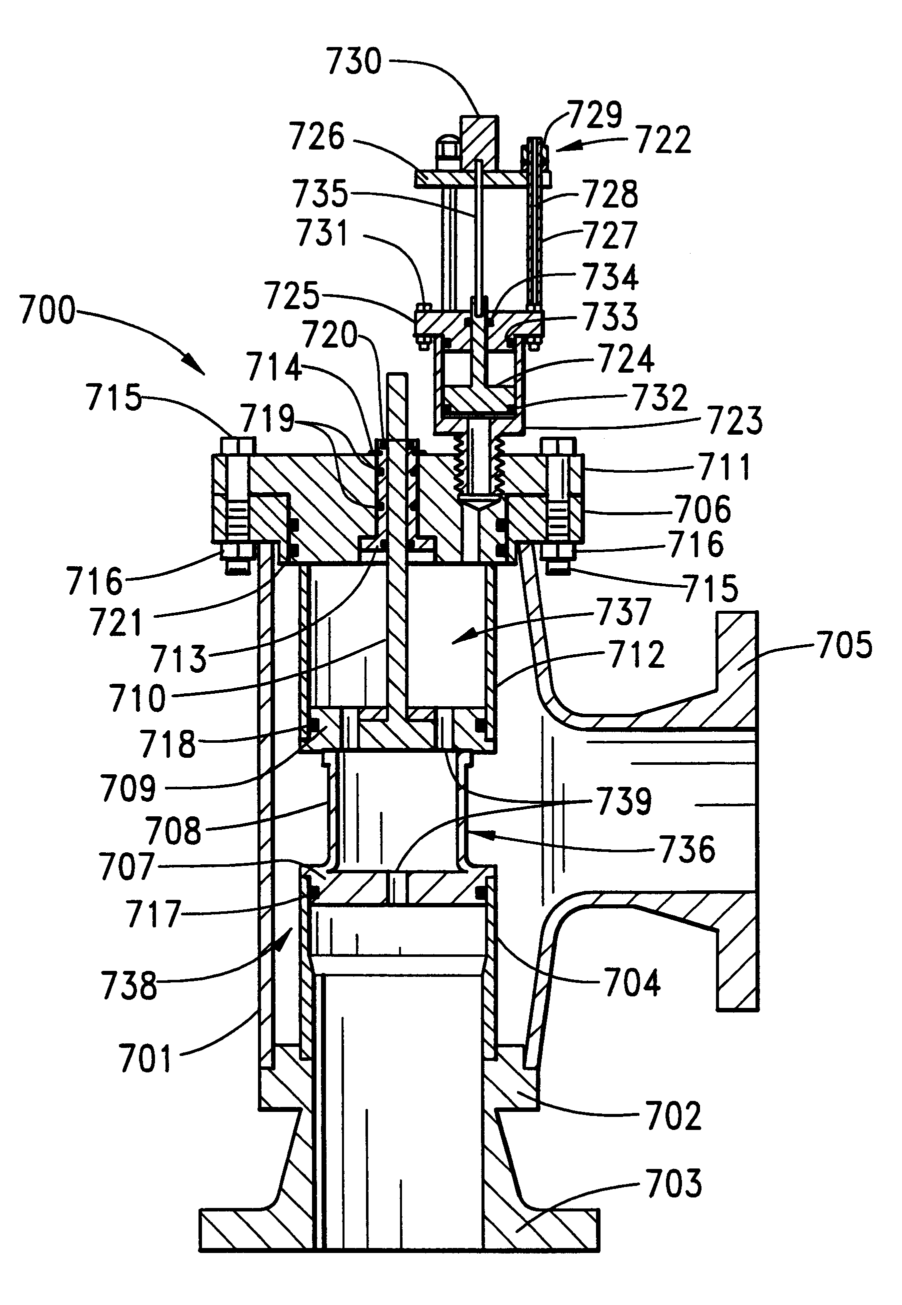
Every rupture pin product is designed to meet the highly demanding requirements of oil and gas producers refiners chemical plant operators power generators and the processing industry in order to more effectively control their liquid steam or gas operations. Taylor valve technology is a leading manufacturer of high quality safety relief high pressure relief and back pressure relief valves. When an external load is applied to a straight cylindrical pin it buckles at a specific load. 1 a buckling pin device may be used as the sole pressure relieving device on a vessel.

Rupture pin products. By calibrating the buckling pin to collapse at a load coincident with that resulting from the shaft torque at a predetermined differential pressure the bprv provides accurate pressure relief. To analyse the global buckling pin relief valves market trends and opportunities for buckling pin relief valve manufacturers the market has been segmented on the basis of size set pressure end use industry and region. While sourcing the valve body in corrosive resistant materials may lead to a high initial investment cost this is a long term investment as the valve will typically last the length of the project.

Bs b has developed the bprv buckling pin relief valve for in line pressure or vacuum relief offering quick and simple external resetting. 9300 snap pilot valve. Buckling pin devices may be used as described below. The main advantages of the buckling pin devices are.

2 a ud stamped buckling pin device may be installed between a pressure relief valve and the vessel provided. Buckling pin technology offers an accurate and reliable means of calibrating pressure relief devices. The buckling pin valve is usually created using sourced materials that are known to be compatible with the process medium. Rupture pin technology is a leading manufacturer of high quality buckling pin valves.

An alternative design is to use the buckling pin valve as switching pilot for the operation of pneumatic actuators specially in use with butterfly valves. The buckling pin device has three primary components. Basic data was collected from manufacturers. 9300 modulating pilot valve.

Taylor valve also offers a wide array of choke and control valves and pilot operated valve products for the oil and gas industry. The buckling pin relief valve bprv can improve productivity within a facility by dramatically reducing the down time that can be caused with other non reclosing pressure relief devices. For the analysis of consumption we have considered fy 2017 as the base year. The bprv is suitable for both gas and liquid applications and provides a full relief opening at a pre determined set pressure.

Self Contained And Self Actuating Rupture Pin Valves Australia

Self Contained And Self Actuating Rupture Pin Valves Australia

Rupture Pin Kings Energy

Rupture Pin Kings Energy

Rupture Pin Technology Inc Ppt Video Online Download

Rupture Pin Technology Inc Ppt Video Online Download

Rupture Pin Technology Hydrocarbons Technology

Rupture Pin Technology Hydrocarbons Technology

Source : pinterest.com